半岛-Bandao(中国体育)官方网站

今日LED显示屏行业海内外情报汇总(2024年11月18日)-半岛体育平台登录入口
您现在所在位置: 主页 > 半岛新闻 > 公司资讯

公司资讯

Company information

行业动态

Industry dynamics

今日LED显示屏行业海内外情报汇总(2024年11月18日)

发布日期:2024-11-19 05:13 浏览次数:

  该新建项目处于初步设计批复阶段,位于湖南湘西州和贵州省铜仁市境内,投资总额930200万元设。铜吉铁路是沪昆高铁通道与张吉怀铁路的快速铁路连接线,在功能定位上兼具城际和路网功能。正线.425km。

今日LED显示屏行业海内外情报汇总(2024年11月18日)(图1)

  洲明UCINE电影放映系统已入驻完美世界影城哈尔滨学府凯德旗舰店,采用LED前沿技术,提供豪华设备和沉浸式观影体验。该系统具备高亮度、高对比度和在低亮度下优异的灰阶表现,结合4K超高清画质和杜比全景声,为观众带来视听双重享受。

  蓝普视讯MicroLED COB产业园投产7个月,销售额突破1亿元。该园区专注于新型显示技术Micro LED显示面板领域及AI图像算法显示控制管理领域。项目总投资10亿元,分三期投产,2025年产值预计20亿元,产品应用于商业显示屏等场景。

  【境外消息】塔迪斯公司将在托马斯·萨博的全球70家旗舰店(Invidis)部署数字标识

今日LED显示屏行业海内外情报汇总(2024年11月18日)(图2)

  泽塔迪斯公司与托马斯·萨博达成合作,在其70家旗舰店部署数字标识。合作涵盖了数字标识的安装和服务。数字标牌的安装将根据商店的大小和方向而有半岛平台 半岛体育在线入口所不同,精品店接收高分辨率的窗口显示器、LED配置和较小的屏幕作为包装的一部分。

  PRN公司将在法国850多家Basic-Fit健身工作室部署5000个数字标牌显示屏,使用Scala系统和Walkbase传感器技术,计划2025年1月起负责推广。PRN已在法国建立媒体销售团队,并将在巴黎设立办公室。

  近日,粤港澳超高清数创产业园正式开园。视爵光旭与其签订了核心战略合作协议,为园区提供XR/VP解决方案。粤港澳超高清数创园xR 虚拟影棚采用了视爵光旭的硬屏技术和Cold冷屏技术。

  LED特种显示屏企业成电光信稳步推进LED球幕视景系统等研发项目。公司业绩逐年增长,特种LED显示产品和FC网络数据通信卡订单推动收入增长。今年前三季度营收同比增长61.21%,净利润同比增长16.59%,并成功中标LED球幕显示设备项目。

今日LED显示屏行业海内外情报汇总(2024年11月18日)(图3)

  深圳市木兰轩科技有限公司公开了一种拼接式LED显示屏,该显示屏通过在显示屏主体和背板上分别设置插接块和固定座,以及上部插板和下部插板的配合使用,实现了无需工具即可快速拆装,提高了实用性。

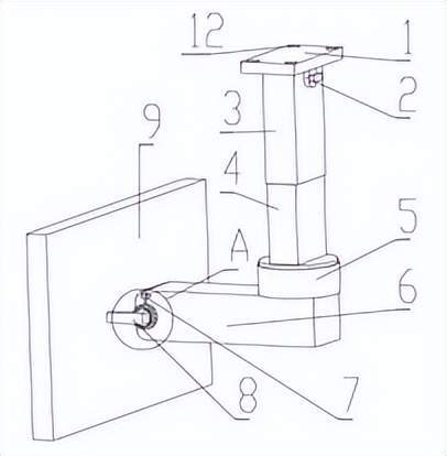
今日LED显示屏行业海内外情报汇总(2024年11月18日)(图4)

  河南晶泰光电科技有限公司公开了一种可多角度调节的LED显示设备。本实用新型的有益效果是通过升降装置和角度调节装置精准的调整LED显示屏的高度半岛平台 半岛体育在线入口和角度,而旋转装置可使LED显示屏可360度旋转,且每个装置都可单独调整。

0755-83205169