半岛-Bandao(中国体育)官方网站

今日LED显示屏行业海内外情报汇总(2024年10月22日)-半岛体育平台登录入口
您现在所在位置: 主页 > 半岛新闻 > 公司资讯

公司资讯

Company information

行业动态

Industry dynamics

今日LED显示屏行业海内外情报汇总(2024年10月22日)

发布日期:2024-12-08 12:20 浏览次数:

  情报强企根据海关总署的数据,对LED显示屏进出口数据进行统计与分析。2024年9月,我国LED显示屏进出口金额同比下降9.80%。其中出口金额同比下降10.06%;进口金额同比下降半岛体育 半岛体育平台6.34%。

  该项目处于工程监理招标阶段,位于广东省珠海市香洲区,由珠海市政府投资工程设计中心投资建设。主线南接珠海大道节点立交剩余工程主线与匝道终点,地面辅路南起规划沿河北路,北至现状翠屏路,道路等级城市主干路,设计速度40km/h,双向四车道,全长约1.4km。

今日LED显示屏行业海内外情报汇总(2024年10月22日)(图1)

  Onemedia与LED显示屏制造商Unilumin签署分销协议,Unilumin成为其产品组合中的第一家LED显示屏制造商。Onemedia将提供Unilumin的室内固定模块LED显示解决方案,并分销其108、135和162英寸的全功能UTV显示屏。

  洲明科技和艾比森近日发布了三季度报告。报告显示,两家公司前三季度营业收入均实现小幅增长。洲明科技第三季度营业收入为54.20亿元,同比增长6.94%。艾比森前三季度营业收入微增7.11%,实现营收27.18亿元,同比增长7.11%。

今日LED显示屏行业海内外情报汇总(2024年10月22日)(图2)

  亚马逊推出了其首款彩色显示电子阅读器Kindle Colorsoft。这款设备采用了全新的显示屏设计,包括一种新开发的氧化物背板,允许电子墨水面板中的微小墨水颗粒更快地移动,这会提高刷新率。此外,每个像素都被单独照亮,创造出更鲜艳的颜色。

今日LED显示屏行业海内外情报汇总(2024年10月22日)(图3)

  布拉德福德大学推出了新的10米宽4K分辨率LED屏幕,安装在霍顿D演讲厅。这项耗资350万英镑的校园技术升级旨在提升学生体验。屏幕由两个4.8米宽、1.2毫米半岛体育 半岛体育平台像素间距的LED组成,由罗氏AV安装。

今日LED显示屏行业海内外情报汇总(2024年10月22日)(图4)

  第五届全球Mini/Micro LED显示技术周暨CMMA第一届第四次成员大会在西安成功举行,发布了《有源矩阵驱动 LED 显半岛体育网站 登录网址示屏图像质量技术规范》和《Micro LED显示屏视觉质量测试方法》两项行业团体标准。

今日LED显示屏行业海内外情报汇总(2024年10月22日)(图5)

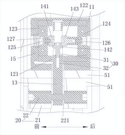
  深圳市艾比森光电和惠州市艾比森光电公开了一种LED显示屏,包含第一、第二箱体、拼接块和连接件。第一箱体有凹坑,拼接块置于凹坑内抵住第二箱体第二表面。拼接块第三表面与主显示平面垂直或倾斜,具有拼接平面和斜面,实现多种拼接角度,降低产品成本。

今日LED显示屏行业海内外情报汇总(2024年10月22日)(图6)

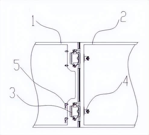
  利亚德光电股份有限公司公开了一种微调机构及LED显示屏。本实用新型的技术方案有效地解决了相关技术中的调节相邻的两个显示单元的两个边框之间缝隙的效果较差的问题。

0755-83205169